Snelle Levering

Snel contact

Top kwaliteit

Altijd op zoek naar een alternatief







                

Angebote

Vind de juiste onderdelen voor uw auto.

NL

VIN/Chassisnummer

Of

1
2
3

Producten voor de volgende oenummers :
28100 54430 2810054430


Aantal producten gevonden 3
Product number: F 032 110 708
EAN: 5705541046177
Eigenschappen
Alles weergeven
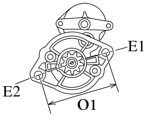
Lengte (mm) 296.50
Starteruitvoering met reductiekast
Basispositie aandrijftandwiel (mm) 15.50
Aantal draadboringen 1
Flens Ø (mm) 82.5
Aantal gaten voor montage 2
Aantal tanden 11
Draairichting draairichting met de klok mee
Binnendiameter 2 (mm) 13.00
Startvermogen (kW) 2.7
Spanning (v) (V) 12
Lengte 29.6 cm
Product number: 190.545.112.050
EAN: 8720264011728
Eigenschappen
Alles weergeven
Basispositie aandrijftandwiel (mm) 15.0
Klem b+ (m10)
Flens Ø (mm) 82.4
Producent +line original
Aantal gaten voor montage 2
Aantal tanden 11
Draairichting draairichting met de klok mee
Startvermogen (kW) 2.7
Spanning (v) (V) 12
U-bout (°) +125
Product number: 190.545.112.340
EAN: 8720653860135
Eigenschappen
Alles weergeven
Basispositie aandrijftandwiel (mm) 15.0
Klem b+ (m10)
Flens Ø (mm) 82.5
Producent +line selected reman
Aantal gaten voor montage 2
Aantal tanden 11
Draairichting draairichting met de klok mee
Startvermogen (kW) 2.7
Spanning (v) (V) 12

© 2025 Gebr. Opdam BV.nl - Alle rechten voorbehouden.