Snelle Levering

Snel contact

Top kwaliteit

Altijd op zoek naar een alternatief







                

Angebote

Vind de juiste onderdelen voor uw auto.

NL

VIN/Chassisnummer

Of

1
2
3

Producten voor de volgende oenummers :
RE 50 322 6 RE503226


Aantal producten gevonden 7
Product number: F 032 115 609
EAN: 5711343300676
Eigenschappen
Alles weergeven
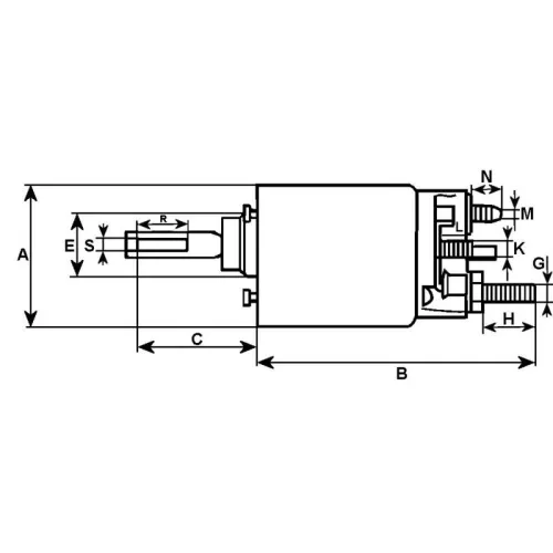
Lengte (mm) 315.50
Binnendiameter 3 (mm) 11.00
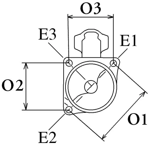
Flens Ø (mm) 89.0
Basispositie aandrijftandwiel (mm) 48.00
Starteruitvoering met reductiekast
Aantal gaten voor montage 3
Spanning (v) (V) 12
Startvermogen (kW) 3.0
Binnendiameter 1 (mm) 11.00
Binnendiameter 2 (mm) 11.00
Draairichting draairichting met de klok mee
Aantal tanden 11
Lengte 31.5 cm
Product number: F 032 234 947
EAN: 5705541872578
Eigenschappen
Alles weergeven
Hoogte (mm) 31.00
Buitendiameter (mm) 91.0
Spanning (v) (V) 12
Binnendiameter (mm) 33.50
Breedte 9.1 cm
Hoogte 3.1 cm
Lengte 9.1 cm
Product number: 1 986 S10 057
EAN: 4047026537390
Eigenschappen
Alles weergeven
Lengte (mm) 320
Positie / graad (°) links
Flens Ø (mm) 89
Klem 30,50
Basispositie aandrijftandwiel (mm) 48
Starteruitvoering zonder toplager
Hoekmaat bekopening (°) 55
Aantal gaten voor montage 3
Boring-Ø 2 (mm) 10.5
Boring-Ø (mm) 10.5
Spanning (v) (V) 12
Startvermogen (kW) 3
Draairichting draairichting met de klok mee
Aantal tanden 11
Boring-Ø 3 (mm) 10.5
Lengte 32 cm
Product number: STX200383
EAN:
Eigenschappen
Alles weergeven
Flens Ø (mm) 89
Aantal gaten voor montage 3
Spanning (v) (V) 12
Startvermogen (kW) 3
Draairichting draairichting met de klok mee
Aantal tanden
  • 10
  • 11
Product number: F 032 236 645
EAN: 5705541845664
Eigenschappen
Alles weergeven
Lengte (mm) 123.00
Buitendiameter (mm) 62.0
Spanning (v) (V) 12
Breedte 6.2 cm
Lengte 12.3 cm
Product number: 630.567.103.090
EAN: 8720264308866
Eigenschappen
Alles weergeven
Producent +line original
Flens Ø (mm) 88.5
Klem b+ (m10)
Basispositie aandrijftandwiel (mm) 47.0
U-bout (°) +35
Aantal gaten voor montage 3
Spanning (v) (V) 12
Startvermogen (kW) 4.2
Draairichting draairichting met de klok mee
Aantal tanden 10
Product number: 630.567.103.310
EAN: 8720264300099
Eigenschappen
Alles weergeven
Producent mahle new
Flens Ø (mm) 88.5
Klem b+ (m10)
Basispositie aandrijftandwiel (mm) 47.0
U-bout (°) -55
Aantal gaten voor montage 3
Spanning (v) (V) 12
Startvermogen (kW) 4.2
Draairichting draairichting met de klok mee
Aantal tanden 10

© 2025 Gebr. Opdam BV.nl - Alle rechten voorbehouden.